最新資訊

東莞正航恒溫恒濕試驗箱參數檢查練習


☣ 恒溫恒濕試驗箱 制冷體系緊縮機將制冷劑緊縮成高壓高溫氣體系后送入冷凝器,在其間冷凝成液體系一起向室外散熱,然后經枯燥過濾器和毛細管(或膨脹閥)進入蒸騰器,在其間蒸騰吸熱,轉變為過熱蒸氣,再被恒溫恒濕試驗箱制冷體系緊縮機吸入進行緊縮。
☣ 制冷循環是指蒸騰器在室內,制冷劑在室內蒸騰吸熱,然后下降室內溫度的循環制熱循環是經過四通換向閥改動制冷劑的活動方向,使制冷劑在室外蒸騰吸熱,在室內冷凝散熱,然后進步室內溫度的循環。
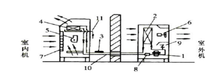
☣ 分體系式恒溫恒濕試驗箱的構成體系示意圖
☣ 恒溫恒濕試驗箱制冷體系緊縮機2-冷凝器3-毛細管4-蒸騰器5-離心風機6-軸流風機過濾網8-分離器9-壓力維護開關☆0連接收☆☆-排水管。
☣ 經過該試驗,把握分體系式恒溫恒濕試驗箱的作業原理,以及各部件的效果,了解恒溫恒濕試驗箱正常運轉的符號,測量恒溫恒濕試驗箱的各參數,分析冷凝壓力變化時對恒溫恒濕試驗箱各參數的影響,以及制冷劑添加或削減對體系的影響。
上一篇:
正航儀器設備技能爐殼制作等規模
下一篇:
分子篩干燥劑分子篩釋水功能檢查